Отопление предбанника от банной печи

Отопление предбанника от банной печи воздухом. Печь ангара 4 с топкой из предбанника и баком для воды. Отопление в бане. Отопление в бане от печки. Отопление предбанника от банной печи.
Отопление предбанника от банной печи воздухом. Печь ангара 4 с топкой из предбанника и баком для воды. Отопление в бане. Отопление в бане от печки. Отопление предбанника от банной печи.
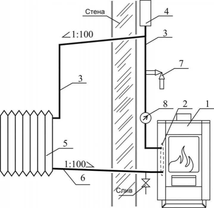
Отопление предбанника от банной печи. Банная печь с теплообменником и баком для воды схема подключения. Котел для бани. Отопление предбанника от банной печи. Отопление предбанника от банной печи.
Отопление предбанника от банной печи. Банная печь с теплообменником и баком для воды схема подключения. Котел для бани. Отопление предбанника от банной печи. Отопление предбанника от банной печи.
Отопление бани от банной печи с теплообменником. Банная печь с теплообменником для теплого пола. Теплообменник для теплых полов в банной печи. Банная печь теплодар с баком для воды. Теплодар 140 обложенный кирпичом.
Отопление бани от банной печи с теплообменником. Банная печь с теплообменником для теплого пола. Теплообменник для теплых полов в банной печи. Банная печь теплодар с баком для воды. Теплодар 140 обложенный кирпичом.
Отопление от печи в сауне. Воздушное отопление в бане. Дымоход конвектор везувий. Отопление предбанника от банной печи. Отопление предбанника от банной печи.
Отопление от печи в сауне. Воздушное отопление в бане. Дымоход конвектор везувий. Отопление предбанника от банной печи. Отопление предбанника от банной печи.
Печка для бани. Печь для бани с теплообменником и выносным баком. Металлическая печь для бани. Кирпичная печь в баню с теплообменником. Отопление в бане от печи.
Печка для бани. Печь для бани с теплообменником и выносным баком. Металлическая печь для бани. Кирпичная печь в баню с теплообменником. Отопление в бане от печи.
Отопление предбанника от банной печи. Печь каменка для сауны на дровах. Печь в баню с отоплением предбанника. Отопление в бане от печи. Отопление предбанника от банной печи.
Отопление предбанника от банной печи. Печь каменка для сауны на дровах. Печь в баню с отоплением предбанника. Отопление в бане от печи. Отопление предбанника от банной печи.
Банная печь в парной. Печка для бани. Печь в дом для отопления. Теплообменник для печи везувий. Отопление предбанника от банной печи.
Банная печь в парной. Печка для бани. Печь в дом для отопления. Теплообменник для печи везувий. Отопление предбанника от банной печи.
Отопление в предбаннике от печи. Отопление предбанника от банной печи. Отопление в бане. Банная печь с отоплением предбанника. Печь ангара 4 с топкой из предбанника.
Отопление в предбаннике от печи. Отопление предбанника от банной печи. Отопление в бане. Банная печь с отоплением предбанника. Печь ангара 4 с топкой из предбанника.
Котел для бани. Печь для бани с котлом. Отопление в бане. Банная печь с отоплением предбанника. Печь для бани с теплообменником и выносным баком для воды.
Котел для бани. Печь для бани с котлом. Отопление в бане. Банная печь с отоплением предбанника. Печь для бани с теплообменником и выносным баком для воды.
Печь малютка стоун. Отопитель натрубный термофор. Теплодар печи для бани с баком для воды. Отопление в моечной бани. Обогрев предбанника.
Печь малютка стоун. Отопитель натрубный термофор. Теплодар печи для бани с баком для воды. Отопление в моечной бани. Обогрев предбанника.
Отопление в бане от печи. Отопление предбанника от банной печи. Печь в парилке в бане. Отопление предбанника от банной печи. Печка в парилке в бане.
Отопление в бане от печи. Отопление предбанника от банной печи. Печь в парилке в бане. Отопление предбанника от банной печи. Печка в парилке в бане.
Печь банная впк 1 с теплообменником. Отопление в бане от теплообменника. Отопитель натрубный-1 tmf. Дровяная печь для бани с теплообменником. Печь для бани теплодар с теплообменником.
Печь банная впк 1 с теплообменником. Отопление в бане от теплообменника. Отопитель натрубный-1 tmf. Дровяная печь для бани с теплообменником. Печь для бани теплодар с теплообменником.
Печь ангара 4 с топкой из предбанника и баком для воды. Печь бизон 18 с выносной топкой. Отопление в помывочной в бане. Печь ангара 4 с топкой из предбанника. Котел для сауны.
Печь ангара 4 с топкой из предбанника и баком для воды. Печь бизон 18 с выносной топкой. Отопление в помывочной в бане. Печь ангара 4 с топкой из предбанника. Котел для сауны.
Отопление предбанника от банной печи. Печь ангара 4 с топкой из предбанника и баком для воды. Отопление предбанника от банной печи. Отопление предбанника от банной печи. Печка для бани.
Отопление предбанника от банной печи. Печь ангара 4 с топкой из предбанника и баком для воды. Отопление предбанника от банной печи. Отопление предбанника от банной печи. Печка для бани.
Отопление в моечной бани. Отопление в бане от печки. Печь для бани с обогревом комнаты отдыха. Отопление предбанника от банной печи. Печка в баню парная моечная.
Отопление в моечной бани. Отопление в бане от печки. Печь для бани с обогревом комнаты отдыха. Отопление предбанника от банной печи. Печка в баню парная моечная.
Печь для бани. Банная печь с отоплением предбанника. Система отопления в бане. Отопление в предбаннике от печи. Отопление в бане.
Печь для бани. Банная печь с отоплением предбанника. Система отопления в бане. Отопление в предбаннике от печи. Отопление в бане.
Схема дымохода банной печи с теплообменником. Отопление предбанника от банной печи. Схема отопления от теплообменника печи. Печи отопительные и банные теплодар. Банная печь harvia m3.
Схема дымохода банной печи с теплообменником. Отопление предбанника от банной печи. Схема отопления от теплообменника печи. Печи отопительные и банные теплодар. Банная печь harvia m3.
Печь для бани с парилкой и мойкой. Система отопления в бане. Теплодар печи для бани с баком. Печь для отопления предбанника. Схема подключения бака с водой к теплообменнику в бане.
Печь для бани с парилкой и мойкой. Система отопления в бане. Теплодар печи для бани с баком. Печь для отопления предбанника. Схема подключения бака с водой к теплообменнику в бане.
Печь "ангара №4" с топкой из предбанника. Отопление в бане от печи. Отопление в предбанник от печки. Банные котлы. Печь в парилку с теплообменником для отопления.
Печь "ангара №4" с топкой из предбанника. Отопление в бане от печи. Отопление в предбанник от печки. Банные котлы. Печь в парилку с теплообменником для отопления.
Отопление в бане от печи. Отопление предбанника от банной печи. Отопление предбанника от банной печи. Отопление в моечной бани. Отопление предбанника от банной печи.
Отопление в бане от печи. Отопление предбанника от банной печи. Отопление предбанника от банной печи. Отопление в моечной бани. Отопление предбанника от банной печи.